• Home
  • Download PDF
  • Order CD-ROM
  • Order in Print
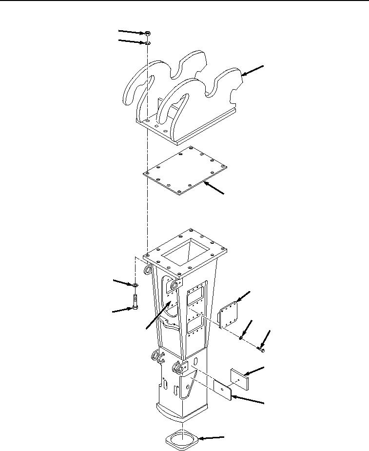
Figure 147. IMPACTOR BREAKER (Sheet 1 of 2)
Figure 147. IMPACTOR BREAKER - Continued

Repair Parts For Hydraulic Excavator Type 1 With Hydraulic Thumb And Quick Latch Page Navigation
  310    311    312    313    314  315  316    317    318    319    320  
img
TM 5-3805-294-24P
0002
96
95
97
98
95
99
94
100
101
93
102
103, 104
105
HYEX01567
Figure 147. IMPACTOR BREAKER (Sheet 2 of 2)
0002-334


Privacy Statement
Press Release
Contact

© Copyright Integrated Publishing, Inc.. All Rights Reserved.