• Home
  • Download PDF
  • Order CD-ROM
  • Order in Print
Figure 68. ENGINE MOUNTING - Continued
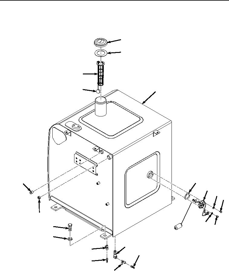
Figure 69. FUEL TANK - Continued

Repair Parts For Hydraulic Excavator Type 1 With Hydraulic Thumb And Quick Latch Page Navigation
  137    138    139    140    141  142  143    144    145    146    147  
img
.
TM 5-3805-294-24P
0002
3
4
2
1
5
16
6
7
8
9
15
8
13
9
14
12
11
10
10
11
HYEX00912
Figure 69. FUEL TANK
0002-148


Privacy Statement
Press Release
Contact

© Copyright Integrated Publishing, Inc.. All Rights Reserved.