• Home
  • Download PDF
  • Order CD-ROM
  • Order in Print
Figure 74. SLAVE RECEPTACLE - Continued
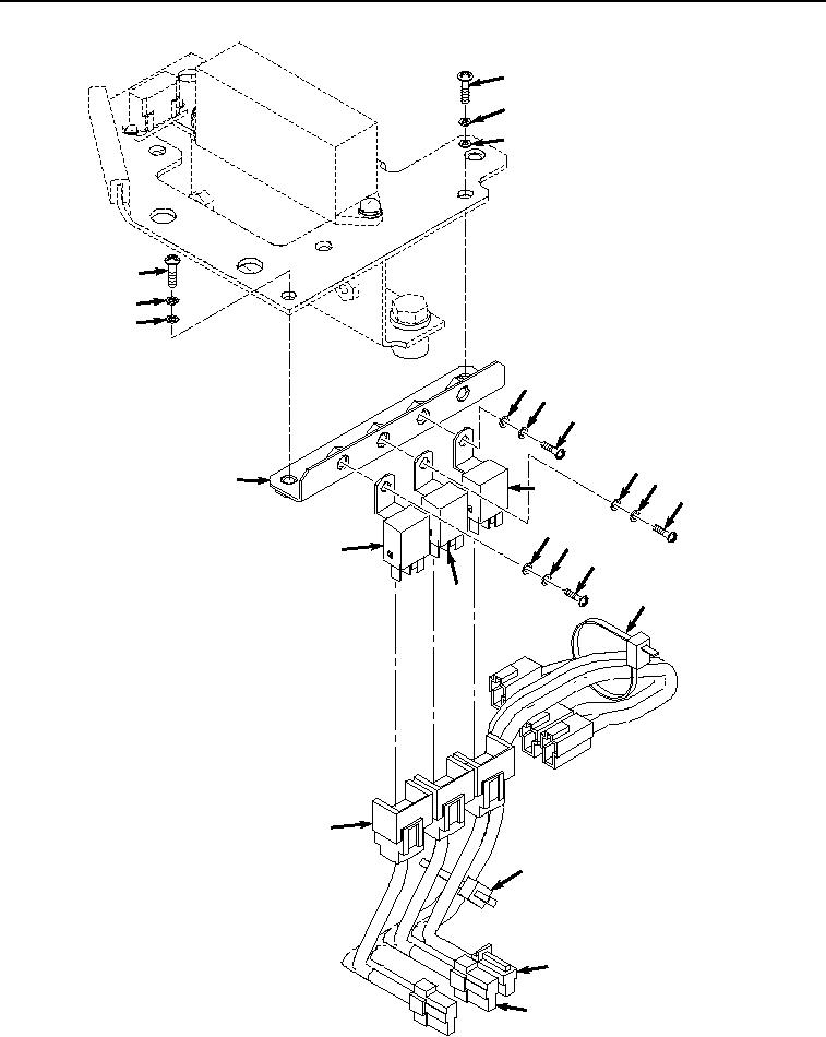
Figure 75. WORK LIGHTS WIRING HARNESS - Continued

Repair Parts For Hydraulic Excavator Type 1 With Hydraulic Thumb And Quick Latch Page Navigation
  152    153    154    155    156  157  158    159    160    161    162  
img
.
TM 5-3805-294-24P
0002
1
2
3
1
2
3
3
2
1
3
2
9
4
1
3
2
4
1
4
5
8
5
6
7
HYEX01196
Figure 75. WORK LIGHTS WIRING HARNESS
0002-164


Privacy Statement
Press Release
Contact

© Copyright Integrated Publishing, Inc.. All Rights Reserved.