• Home
  • Download PDF
  • Order CD-ROM
  • Order in Print
Figure 170. HYDRAULIC PUMP 2 REGULATOR - Continued
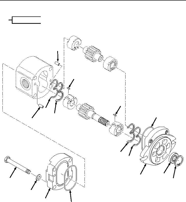
Figure 171. PILOT PUMP - Continued

Repair Parts For Hydraulic Excavator Type 1 With Hydraulic Thumb And Quick Latch Page Navigation
  381    382    383    384    385  386  387    388    389    390    391  
img
.
TM 5-3805-294-24P
0002
1
2 THROUGH 12
2
3
3
8
4
9
2
9
8
6
7
12
5
11
10
4
HYEX00464
Figure 171. PILOT PUMP
0002-414


Privacy Statement
Press Release
Contact

© Copyright Integrated Publishing, Inc.. All Rights Reserved.