• Home
  • Download PDF
  • Order CD-ROM
  • Order in Print
Figure 63. REVERSING FAN DRIVE VALVE PUMP - Continued
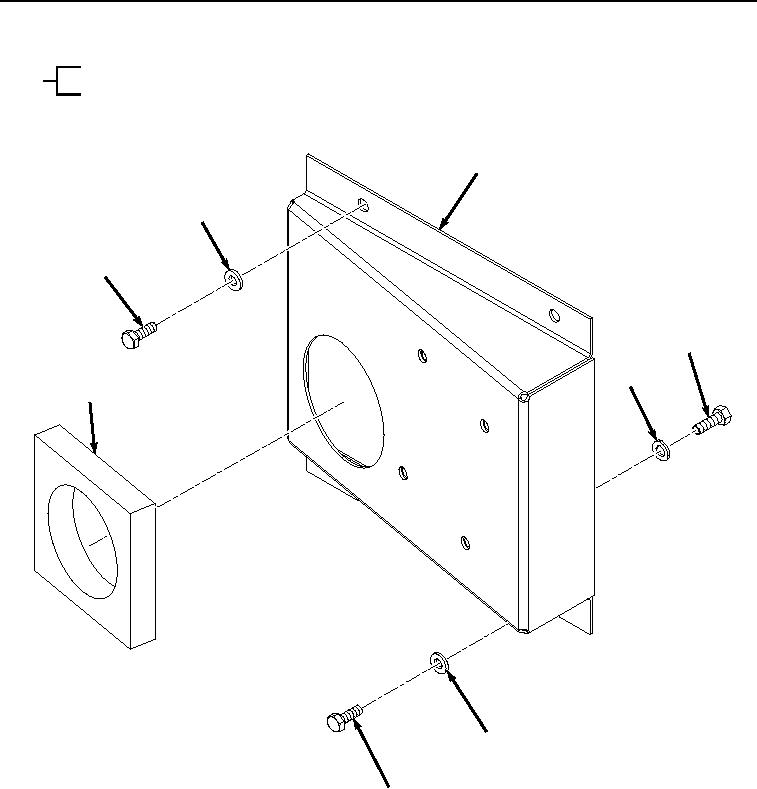
Figure 64. AIR CLEANER BRACKET - Continued

Repair Parts For Hydraulic Excavator Type 1 With Hydraulic Thumb And Quick Latch Page Navigation
  127    128    129    130    131  132  133    134    135    136    137  
img
.
TM 5-3805-294-24P
0002
3
4
3
2
1
1
2
4
2
1
HYEX00902
Figure 64. AIR CLEANER BRACKET
0002-138


Privacy Statement
Press Release
Contact

© Copyright Integrated Publishing, Inc.. All Rights Reserved.