• Home
  • Download PDF
  • Order CD-ROM
  • Order in Print
Figure 1. Selector Valve Hose Removal.
Figure 3. Selector Valve Disassembly.

Maintenance Manual For Hydraulic Excavator Type 1 With Hydraulic Thumb And Quick Latch -4 Page Navigation
  1045    1046    1047    1048    1049  1050  1051    1052    1053    1054    1055  
img
.
TM 5-3805-294-23-4
0634
REMOVAL - Continued
12
13
14
11
10
9
9
8
HYEX01293
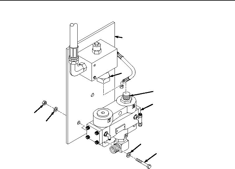
Figure 2.
Selector Valve Removal.
6.
Remove fitting (Figure 2, Item 13) from fitting (Figure 2, Item 14).
7.
Remove selector valve (Figure 2, Item 11) from mounting plate (Figure 2, Item 12).
END OF TASK
DISASSEMBLY
1.
Remove fitting (Figure 3, Item 2) and O-ring (Figure 3, Item 15) from selector valve (Figure 3, Item 11).
0634-3


Privacy Statement
Press Release
Contact

© Copyright Integrated Publishing, Inc.. All Rights Reserved.