• Home
  • Download PDF
  • Order CD-ROM
  • Order in Print
Figure 4. Relief Valve Assembly.
Figure 6. Relief Valve Hose Installation.

Maintenance Manual For Hydraulic Excavator Type 1 With Hydraulic Thumb And Quick Latch -4 Page Navigation
  1078    1079    1080    1081    1082  1083  1084    1085    1086    1087    1088  
img
.
TM 5-3805-294-23-4
0639
INSTALLATION - Continued
9
8
7
6
10
6
5
11
6
HYEX01303
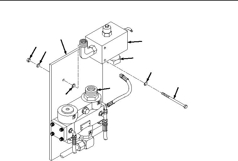
Figure 5.
Relief Valve Installation.
2.
Position bolt (Figure 5, Item 5) with washer (Figure 5, Item 6) in relief valve (Figure 5, Item 8) bolt hole.
3.
While threading fitting (Figure 5, Item 10) to fitting (Figure 5, Item 11) continue to align bolt (Figure 5, Item 5)
and washer (Figure 5, Item 6) between relief valve (Figure 5, Item 8) and mounting plate (Figure 5, Item 9)
until bolt can be installed through washer and hole in mounting plate.
4.
After bolt (Figure 5, Item 5) is through hole in mounting plate (Figure 5, Item 9), finish tightening fitting (Figure
5, Item 10) to fitting (Figure 5, Item 11).
5.
Install washer (Figure 5, Item 6) and nut (Figure 5, Item 7) to bolt (Figure 5, Item 5) and mounting plate (Figure
5, Item 9).
6.
Install hose (Figure 6, Item 3) to fitting (Figure 6, Item 4).
0639-6


Privacy Statement
Press Release
Contact

© Copyright Integrated Publishing, Inc.. All Rights Reserved.